ALB lastabhängiger Bremskraftregler
- Otti1909
-
Themenstarter
- Offline
- Routinier
-
- Hobby 600
- Beiträge: 12
- Thanks: 6
ALB lastabhängiger Bremskraftregler
26 Juli 2023 09:33
Hallo zusammen,
unser Hobby 600 Bj 1987 2,5 Ltr TD Fiat ist durch die Hauptuntersuchung gefallen.
Neben diversen noch durchzuführenden Schweissarbeiten (Radhäuser, Kotflügel) war ein Grund:
Es fehlt eine Buchse/Hülse, die an den Halter der Regelstange gehört (Das Gegenstück sitzt an der Achse). Hierdurch findet der Regler keinen Kontakt, und die Bremskraft der Hinterachse ist zu gering. So die Beschreibung des Prüfers.
Kann mir hier jemand mit einer Bezugsquelle/Teilenummer, oder ggf mit dem Teil an sich helfen?
Vielen Dank.
unser Hobby 600 Bj 1987 2,5 Ltr TD Fiat ist durch die Hauptuntersuchung gefallen.
Neben diversen noch durchzuführenden Schweissarbeiten (Radhäuser, Kotflügel) war ein Grund:
Es fehlt eine Buchse/Hülse, die an den Halter der Regelstange gehört (Das Gegenstück sitzt an der Achse). Hierdurch findet der Regler keinen Kontakt, und die Bremskraft der Hinterachse ist zu gering. So die Beschreibung des Prüfers.
Kann mir hier jemand mit einer Bezugsquelle/Teilenummer, oder ggf mit dem Teil an sich helfen?
Vielen Dank.
Antworten zu Otti1909
- Lollo_C
-
- Offline
- Administrator
-
- Hobby 600_Umbau
- Beiträge: 6094
- Thanks: 2941
Re: ALB lastabhängiger Bremskraftregler
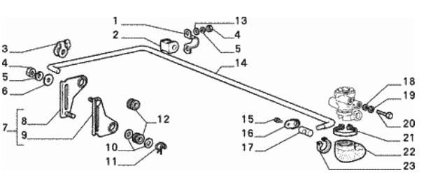
26 Juli 2023 10:06Hallo (Vorname ist mir gerade entfallen!),Es fehlt eine Buchse/Hülse, die an den Halter der Regelstange gehört
schau mal in den Ersatzteilkatalog
Dort findest Du eine Explosionszeichnung mit den Teilenummern. Ich habe aber wenig Hoffnung, dass Du damit etwas bekommst. Ich befürchte, Du must improvisieren.
Mit freundlichen Grüßen und Glückauf
Wilfried
Ich komme aus der alten Schule. Daher antworte ich nicht auf Fragen, die ohne Anrede und Gruß gestellt werden!
Wilfried
Ich komme aus der alten Schule. Daher antworte ich nicht auf Fragen, die ohne Anrede und Gruß gestellt werden!
Antworten zu Lollo_C
- Otti1909
-
Themenstarter
- Offline
- Routinier
-
- Hobby 600
- Beiträge: 12
- Thanks: 6
Re: ALB lastabhängiger Bremskraftregler
26 Juli 2023 12:45
Hallo Wilfried,
danke für die Info. Augustin kann hier nicht helfen, ich habe jetzt noch mal eine Anfrage beim Fiat Händler vor Ort gestellt, dort hatte man auch wenig Hoffnung.
Gibt es evtl. eine Zeichnung mit den Abmessungen? Bei fehlen die Teile ganz, ich habe jemanden mit einer Drehbank, jedoch wäre es schön, eine Hilfestellung geben zu können.
Vielen Dank und beste Grüße Christian
danke für die Info. Augustin kann hier nicht helfen, ich habe jetzt noch mal eine Anfrage beim Fiat Händler vor Ort gestellt, dort hatte man auch wenig Hoffnung.
Gibt es evtl. eine Zeichnung mit den Abmessungen? Bei fehlen die Teile ganz, ich habe jemanden mit einer Drehbank, jedoch wäre es schön, eine Hilfestellung geben zu können.
Vielen Dank und beste Grüße Christian
Antworten zu Otti1909
Ladezeit der Seite: 0.457 Sekunden